Как демонтировать раковину
Первым делом перекрываем вентили горячей и холодной воды. Включаем смеситель, сливаем остатки воды. Убедитесь, что воды не осталось. Берем ведро, чтобы не устраивать лужи, залазим под раковину, ставим его под сифон. Открутив стакан сифона, сливаем воду в ведро и снова прикручиваем стакан, заткнув его тряпкой.
Теперь нужно отсоединить раковину от канализации. Откручиваем гайку, расположенную под дном раковины, против часовой стрелки, придерживая при этом стакан сифона.
Далее отсоединяем сливную трубу от сифона путем раскручивания гайки вверху сифона. Затем снимаем клиновидную шайбу, гайки с обеих сторон сливной трубы и извлекаем саму трубу.

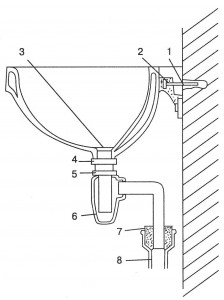
Устройство раковины: 1 — настенное крепление; 2 — кронштейн; 3 — слив; 4 — широкая гайка; 5 — запорная гайка; 6 — стакан; 7 — цемент; 8 — канализация
Следующий шаг — извлечение сифона из раструба канализации. Соединение может быть зацементировано, как в случае с унитазом. Поэтому нам нужно аккуратно удалить этот цемент. Взяли зубило, молоток и осторожно по кругу его удаляем. Затем осторожно извлекаем сифон из отверстия канализации, а само отверстие затыкаем тряпкой, дабы ничего к нам из этой канализации не вылилось.
Все сложности позади. Теперь откручиваем гайку под смесителем, отсоединяем его от горячей и холодной воды, снимаем с раковины.
И вот можно снять раковину. Для этого нужно открутить крепление, придерживая раковину, чтобы она не упала, или же просто снять ее с подставки, если таковая имеется.
Для последующей установки нужно подготовить раструб канализации следующим образом: до конца счистить цемент молотком и зубилом, ошкурить поверхность, протереть тряпкой. Вот теперь готово.
Как демонтировать кухонную мойку
Процедура такая же, как в случае с раковиной. Перекрываем вентили горячей и холодной воды. Включаем смеситель, сливаем остатки воды. Берем ведро, как и раньше, ставим под сифон. Откручиваем стакан, сливаем воду в ведро. Открутим верхнюю гайку с сифона и уберем его в сторону. Вынимаем сливную трубу, для этого снимаем клиновидную шайбу, две гайки. Далее откручиваем гайки, соединяющие смеситель со шлангами горячей и холодной воды. Если у вас вода течет по металлическим трубам, то сворачиваем муфты со сгонов. Для этого сначала открутим контргайки ключом на 29. Потом откручиваем муфты и отсоединяем трубы.
Теперь снимаем мойку. Старые мойки частенько крепятся к стене кронштейнами. Берем отвертку и ключ на 10. Придерживая отверткой болты, откручиваем ключом гайки. Зачастую болты и гайки бывают покрыты ржавчиной. Так вот, с помощью 8%-ного раствора уксуса с алюминиевыми квасцами эту ржавчину можно снять. Или же можно использовать винно-каменную кислоту в пропорции 11:1. Смочите ржавчину и оставьте на 3-5 часов. Избавленные от ржавчины болты и гайки скажут вам спасибо и открутятся гораздо быстрее. Снимаем мойку, демонтируем кронштейны.
13 декабря 2011



